Hovedside Om oss Referanser Kontakt
 
 
  Schöck
 
  Isokorb A
  Isokorb D
  Isokorb F
  Isokorb KF
  Isokorb K
  Isokorb K hjørne
  Isokorb K HV/WO
  Isokorb O
  Isokorb Q
  Isokorb S
  Isokorb V
  Isokorb W
  Isokorb KS/QS
  Isokorb QST/ KST
  Diverse
   
 
Ancon
   
  Armeringskoblinger
  Forankringsskinner
  Skjærdybler
  Teglopplegg
   
   
 
Axelent
   
  Bodvegger
F-2000,
FK 2000,
FP 2000
   
   


 

 



 
 
Klikk på bildet for større format
   
 

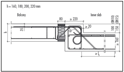
Iskokorb K-HV/WO-/WU-/BH

 
 
   
Mer informasjon Installasjons veiledning
   
 
       
Type K-HV      
 
Type K-WO
 
Type K-WU
 
Type K-BH